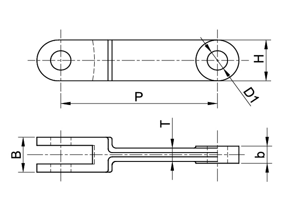
模锻链

可根据用户要求定制加焊附件,附件形式如下:

                                           S型附件

                                            F型附件

                                           P型附件

                                            U型附件

                                            C型附件

                                              O型附件